V-snaren monteren en spannen
Bij aandrijvingen door middel van V-snaren, zoals bij pompen, walsen en ventilatoren, zijn een exacte uitlijning en juiste riemspanning van wezenlijk belang. Zo worden de levensduur van de riem en riemschijf verlengd, trillingen verminderd en energiekosten teruggedrongen.
V-snaren worden gemonteerd door het verkleinen van de onderlinge afstand van de riemschijven. Hierdoor is het monteren met ‘geweld’, bijvoorbeeld met een schroevendraaier, niet nodig en wordt beschadiging voorkomen.
V-snaarschijven na montage uitlijnen
Na de montage van de V-snaren moeten allereerst de riem- of V-snaarschijven worden uitgelijnd.
Er zijn drie verschillende typen uitlijnfouten mogelijk:
- verticale hoekuitlijnfout
- horizontale hoekuitlijnfout
- parallelle uitlijnfout
Een verticale hoekuitlijnfout is alleen te verhelpen door het plaatsen van vulplaatjes onder de motorvoeten. Horizontale en parallelle uitlijnfouten zijn te verhelpen door het verschuiven van de motor en/of de riemschijven.

Uitlijnen door verschuiven van motor en/of riemschijven
Er zijn twee manieren om de aandrijving uit te lijnen door het verschuiven van de motor en/of de V-snaarschijven.
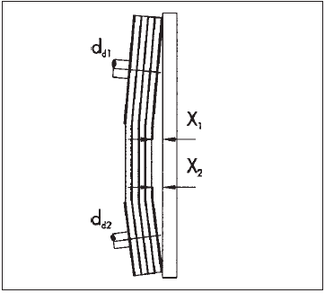
1. Met behulp van een rechte rij of waterpas
Meet de luchtspleet op tussen de rij en de beide riemschijven (x1 en x2).
Stel vast wat de diameter van de beide riemschijven is (d1 en d2).
Zoek in onderstaande tabel op wat een toelaatbare schijfafwijking is. Indien een bepaalde schijfdiameter niet in de lijst voorkomt de bijbehorende luchtspleet (x) interpoleren.
| Schijfdiameter d1 , d2 | Maximale luchtspleet x1 , x2 | |
| 112 mm | 0,5 mm | |
| 224 mm | 1,0 mm | |
| 450 mm | 2,0 mm | |
| 630 mm | 3,0 mm | |
| 900 mm | 4,0 mm | |
| 1100 mm | 5,0 mm | |
| 1400 mm | 6,0 mm | |
| 1600 mm | 7,0 mm |

2. Met behulp van een laser-uitlijnapparaat
Hierbij worden twee magnetische lasereenheden tegenover elkaar bevestigd, elk op een aparte riemschijf. Op de lasereenheden is een laser-referentielijn zichtbaar. Het patroon van deze referentielijn is afhankelijk van het type uitlijnfout of een combinatie hiervan.

(Weergave van een combinatie van 3 uitlijnfouten)
Voorspanning V-snaar controleren via app De Vier
Tijdens het uitlijnen van de riemschijven moet regelmatig gecontroleerd worden of de voorspanning van de V-snaar niet te hoog of te laag is.
Via de “V-snaren-app voor mobiele telefoons”(Android) van Elektromotoren De Vier is vast te stellen wat de gewenste voorspanning van een bepaald type V-snaar is in combinatie met de gebruikte riemschijven. De voorspanning is zowel in Newton als in Hertz te berekenen.
De app is gratis te downloaden via de App-store of via de QR-code op de speciale pagina App V-snaren.
Vaststellen van de voorspanning in Newton
Door het plaatsen van een Optikrik op een V-snaar en deze in te drukken tot de ‘klik’ is de voorspanning in Newton (N) af te lezen.
Er zijn verschillende typen:
| Optikrik 0 | : | 70-150 N |
| Optikrik I | : | 150-600 N |
| Optikrik II | : | 500-1400 N |
| Optikrik III | : | 1300-3100 N |

(Voorspanningsmeter Optikrik)
Vaststellen van de voorspanning in Hertz
De meting van de voorspanning met bijvoorbeeld een ‘Sonic 505C Tension’-meter maakt het mogelijk om op een contactloze en precieze manier de riemspanning door analyse van geluidsgolven te meten. Deze geluidsgolf is specifiek voor elke aandrijving.
Door het aanslaan van een V-snaar, zodat deze gaat trillen, is met de ‘Sonic Tension’-meter vast te stellen wat de trilfrequentie van de V-snaar is.

(Sonic Tension meter)
Voorspanning V-snaar blijven controleren
De meting van de voorspanning van de V-snaar wordt altijd uitgevoerd op één V-snaar, bij stilstaande aandrijving!
Wanneer nieuwe V-snaren gemonteerd zijn, moeten die handmatig eerst enige keren rond worden gedraaid voordat een meting uitgevoerd kan worden.
Na het inlopen van de riemen, tussen circa een half uur en vier uur, moet de voorspanning opnieuw worden gecontroleerd en eventueel worden aangepast.
Het is belangrijk de voorspanning elke drie tot zes maanden te blijven controleren.
Voor vragen over V-snaren en V-snaarschijven, de juiste afstelling en revisiewerk en het lagerwerk, kunt u contact opnemen met de specialisten van Elektromotoren De Vier.
